欢迎进入兰州兴洋电缆桥架有限公司网站
全国服务热线
18919066776
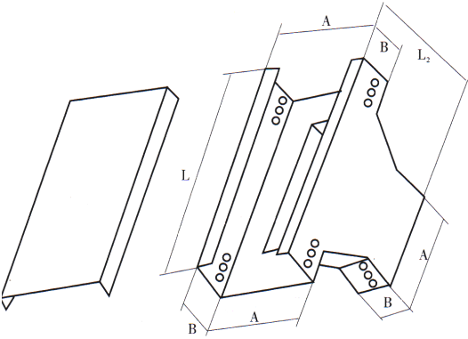
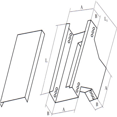
XQJ-C槽式电缆桥架
槽式上边垂直三通 XQJ―C―03D
产品简介
订购热线:18919066776
产品介绍

联系我们
兰州兴洋电缆桥架有限公司
全国服务电话:18919066776
传真:
Q Q:663266558
公司地址:甘肃省兰州市榆中县和平镇
我要订购
* 联系人
* 联系电话
电子邮件
QQ
* 产品名称
* 采购意向
温馨提示: 请填写采购的产品数量和产品描述,方便我们进行统一备货。
咨询热线:18919066776

Copyright © 兰州兴洋电缆桥架有限公司 版权所有
全国服务电话:18919066776   传真:
备案号:陇ICP备2021001564号-1
公司地址:甘肃省兰州市榆中县和平镇
甘公网安备62012302000277号